集微网消息,天眼查显示,华为技术有限公司近日新增多条专利信息,其中2条发明专利涉及滤波器相关技术,其一名称为“滤波器及其制作方法、电子设备”,公开号为CN116711212A。其二名称为“声波滤波器封装结构及其制造方法、电子设备”,公开号为CN116711215A。

专利摘要显示,“滤波器及其制作方法、电子设备”用于提高滤波器的功率,解决目前应用到手机等终端设备的滤波器,由于功率较低不能应用于基站的问题。该滤波器包括:碳化硅衬底、设置于碳化硅衬底一侧的声波反射层,以及设置于声波反射层远离碳化硅衬底一侧的金属电极。金属电极包括底部金属电极和顶部金属电极,且底部金属电极与顶部金属电极之间设置有压电功能层。该滤波器采用碳化硅衬底,碳化硅衬底可以实现更好的散热,具有更好的温度补偿,从而减少温飘,进而提高滤波器的功率,使其能够应用于更高功率的应用场景,如5G中的小基站或者微基站场景。

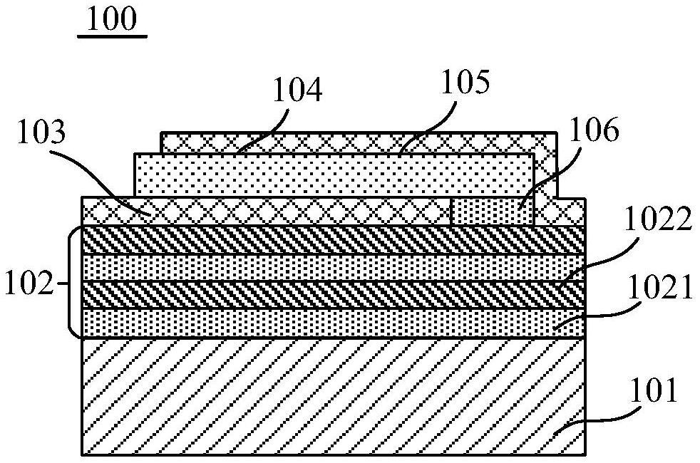
“声波滤波器封装结构及其制造方法、电子设备”的封装结构包括:声波滤波器封装模组,声波滤波器封装模组包括:第一塑封层、多个声波滤波器、第一保护层和重布线层;第一塑封层至少部分包裹每个声波滤波器,且每个声波滤波器的第一表面的多个第一凸块被暴露出第一塑封层;第一保护层覆盖第一塑封层的第一面,且第一保护层中对应每个第一凸块的位置分别设置有第一过孔;重布线层设置在第一保护层的远离第一塑封层的一面,且重布线层通过多个第一过孔与每个第一凸块分别电连接。封装结构中声波滤波器高耐膜压、结构稳定性好,封装结构的良率及效能可控性提高,且厚度及尺寸缩减,可满足更小尺寸电子设备的整合需求。